快递查询接口
关于快递查询接口的说明
一、目前快递查询接口用于以下场景:
- 后台管理【商城设置】【物流公司】用于直接更新并获取快递公司信息
- 订单发货后,在【订单管理】【发货单列表】【查看】发货单明细,获取物流轨迹。
- 发货成功后,前端用户在查看个人【订单详情】的时候,可以阅览物流信息。
- 发货成功后,商家可以在【商家管理】【订单详情】查看具体物流轨迹信息。
二、目前我们内置的是第三方的快递查询资源,大家可以参考:
- 服务商名称:万维易源(https://www.showapi.com/)
- 接口购买地址:【全球快递查询】https://www.showapi.com/apiGateway/view/64 和 【全球快递物流查询-V2】https://www.showapi.com/apiGateway/view/2650 【开源版请购买v1接口,专业版用户可购买v1和v2接口,都已经适配,但是建议专业版用户购买v2接口】
- 价格:建议购买40/年即可。
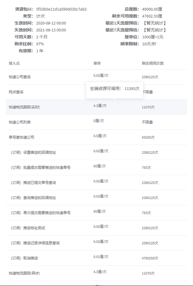
- 以下图片是购买40/年后可用的次数。实时物流可查询11395次,还是非常划算的。



三、设置方式:
- 购买后直接在接口管理中心获取具体的appid和secret

- 前往后台管理系统进入【商城设置】【平台设置】【其他设置】【易源接口】中设置对应的【appid】和【showapi_sign】

如需对接其他接口、请自行二开,也很方便。
类似的平台还有:聚合数据,京东万象,极速数据等,主要就是提供api接口。